液压元件拆装实训、液压元件拆装实训技术
液压元件拆装实训
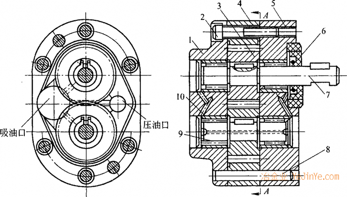
一 齿轮泵

1、齿轮泵工作原理
外啮合齿轮泵的工作原理如图所示。齿轮的啮合点将左、右两腔隔开,形成了吸、压油腔,当齿轮按图示方向旋转时,右侧吸油腔内的轮齿脱离啮合,密封工作腔容积不断增大,形成部分真空,油液在大气压力作用下从油箱经吸油管进入吸油腔,并被旋转的轮齿带入左侧的压油腔。左侧压油腔内的轮齿不断进入啮合,使密封工作腔容积减小,油液受到挤压被排往系统,这就是齿轮泵的吸油和压油过程。在齿轮泵的啮合过程中,相巨啮合的轮齿、端盖及泵体(壳体)(啮合点沿啮合线),把吸油区和压油区分开。
外啮合齿轮泵的工作原理
1-泵体;2.主动齿轮;3-从动齿轮

2、齿轮泵结构
齿轮泵的结构如图所示,主要有主动齿轮、从动齿轮、泵体、泵盖和安全阀等组成。泵体、泵盖和齿轮构成的密封空间就是齿轮泵的工作室。两个齿轮的轮轴分别装在两泵盖上的轴承孔内,主动齿轮轴伸出泵体,由电动机带动旋转。
1-泵盖;2-螺钉;-齿轮;4-泵体;5-泵盖;6-密封圈;-主动轴;
8-销钉;9-从动轴;10-滚动轴承
齿轮泵结构
3、齿轮泵的拆装

齿轮泵的拆卸:
1)先卸掉前端盖上的紧固螺钉和定位销,使泵体与前后端盖分离;
2)从泵体中拆下主动轴、主动齿轮、从动轴、从动齿轮,并做好拆卸记录。
齿轮泵装配:
1)装配前清洗各零件,将轴与泵盖之间,齿轮与泵体之间的配合表面涂润滑液。
2)按拆卸的反向顺序装配。
|
电工电子技能综合实训考核平台 |
|
电工电子技术综合实训考核装置 |
|
电工基础与技能实训考核装置 |
|
电工技术综合实验平台 |
|
电工技术综合实训装置 |
|
电工技术实训网板 |
|
通用电子技术实训装置 |
|
电子技术综合实训考核设备 |
|
电子技术综合实验装置 |
|
数模电综合实训平台 |
|
电气自动化设备安装与维修实训考核平台 |
|
国电供电所装表接电实训装置 |
|
智能型装接表电工实训系统 |
|
电工技能实训考核柜 |
|
直流调速(调压)实训控制柜 |
|
电气工程与自动化实训室设备 |
|
化工自动化仪表实训平台 |
|
电工·电子技术实训装置 |
|
电气控制实训装置(单面双组型) |
|
电气装调实训装置 |
|
电气装配与调试实训平台 |
|
仪表自动化控制综合实训台 |
|
初中高级维修电工实训考核装置 |
|
高性能高级维修电工及技能培训考核实训装置 |
|
维修电工电气控制及仪表照明电路实训考核装置 |
|
电工电子电拖综合实验装置 |
|
电工培训考核装置 |
|
电机拖动及运动控制综合实验台 |
|
机电技术技能实训考核装置 |
|
电机控制与调速实训装置 |
|
电机与电气控制实训台 |
|
楼宇智能化控制系统平台 |
|
电气技能实训考核装置 |
|
电工电气装配与工艺实训台 |
|
电机与电力拖动实训装置 |
|
维修电工技能实训考核装置(网孔板、单面双组型) |
|
电工电子及电机拖动综合实训平台 |
|
电工电子电力拖动技术实验装置 |
|
电工技能实训与考核装置 |
|
电工技术实训台 |
|
电工技术实验装置 |
|
电工电子电力拖动实验与技能实训台 |
|
电工综合实训考核设备 |
|
高级电工实训台 |
|
电工电子综合实验台 |
|
智能型电工电子拖动综合实验装置(带PLC实验) |
|
电子技术创新设计综合应用实训装置 |
|
电子焊接实训考核装置 |
|
电子工艺与检测实训平台 |
|
电子产品装配实训台 |
|
电子装配实训台 |
|
电子技术实验装置 |
|
高级电工电子技术实验装置 |
|
高性能电工电子电拖综合实训装置 |
|
电子技术综合实验装置 |
|
电子电路综合实验实训装置 |
|
电子电工基础实验台、通用电工实验装置 |
|
电工基础实验装置 |
|
电气控制技术实训考核装置 |
|
电气控制及电子技能实训考核装置 |
|
内外线电气安装与维修实训装置 |
|
网孔型电工技能及工艺实训考核装置(单面、双组) |
|
电工技能实训考核平台 |
|
电工电子技能及创新设计综合实训考核装置 |
|
电工电子技术实验台 |
|
初、中、高级及技师维修电工实训考核装置 |
|
电气控制综合实验装置 |
|
供配电技术实训装备 |
|
电工实训装置(单面双组型) |
|
电工电子模拟实训装置 |
|
低压电工电气装配实训台 |
|
电子装配工艺与检测实训装置 |
|
电工工艺(维修电工)试验台 |
|
电工电子电拖实训台 |
|
一体化电工电子技术创新设计综合应用实训装置 |
|
现代维修电工技术实训考核装置 |
|
铁道车辆电气检修实训室建设 |
|
电工实训工作台 |
|
电子技术技能实训考核台 |
|
电子学技术综合实验装置 |
|
维修电工电气控制实训装置 |
|
机床电气与PLC控制教学实验装置 |
|
维修电工技能考核实训装置 |
|
机电技术技能实训考核装置 |
|
电气装配实训装置(网孔板、双组型) |
|
电子产品设计与制作实训平台 |
|
电子单片机实训台 |
|
维修电工实训考核装置 |
|
电机控制及调速综合实训装置 |
|
电工电子自动化综合实训实验台 |
|
模电数电综合实验装置 |
|
电工模电数电综合实训平台 |
|
电气控制及电子技能实训考核装置 |
|
电气装配实训装置 |
|
网孔型电工电气装配实训台 |
|
维修电工实训考核装置(单面双工位) |
|
电子电工综合实验装置 |
|
电工实操实验室设备、电工基本操作技术实训室 |
|
电工技能测试台 |
|
电工操作台、初级维修电工实训设备 |
|
维修电工实训设备 |
|
高级电工技能实训考核装置 |
|
电工电子技能及创新设计综合实训考核装置 |
|
电力拖动实验装置 |
|
电工综合实验装置 |
|
维修电工技能智能实训考核装置 |
|
机电技术技能实训考核装置 |
|
电工电子技能综合实训装置 |
|
通用电工竞赛训练平台 |
|
高级电工练功考核实训台 |
|
电工、电子、电力拖动、PLC、变频器、单片机、触摸屏实训台 |
|
电子技术技能实训台 |
|
现代物流仓储自动化实验系统 |
|
电气线路安装实训装置 |
|
维修电工技术实训平台 |
|
电力电子技术应用实训装置 |
|
电工电子综合应用创新实训装置 |
|
电气照明设备安装调试技能实训装置 |
|
电气安装调试实训设备,电气安装调试实训装置 |
|
自动生产线装调与设计实训装置 |
|
互联网+现代电工电子技术实训装置 |
|
电工电子·电拖·PLC技术综合实训考核装置 |
|
电气设备安装调试技能实训装置 |
|
电工电子基础实验装置 |
|
电工电子技术基础实训考核平台 |
|
电气安装与维修实训装置 |
|
电机传动与控制实验装置 |
|
维修电工高级技师考核实训设备 |
|
电气控制PLC实训台 |
|
电气安装与维修实训考核装置 |
|
电气控制系统安装与调试实训设备 |
|
电机及电气技术实验装置 |
|
电气安装调试实训装置 |
|
通用电工电子电拖实验装置 |
|
电工电子实验装置 |
|
电机拖动及电气控制技术实训装置 |
|
电机拖动及运动控制综合实验台 |
|
机电综实训考核平台 |
|
电力拖动实验装置 |
|
全数字交流调速系统实验装置 |
|
直流调速技术实训装置 |
|
电机性能测试柜 |
|
机电控制综合实训平台 |
|
电机控制实训台 |
|
电机控制接线实验台 |
|
电机运动控制实训装置 |
|
电工电机拖动实训装置 |
|
电机装配与运行检测实训装置 |
|
电机电控配线安装实训装置 |
|
电机·变压器维修及检测实训装置 |
|
电机故障检测实训考核装置 |
|
变频器工作原理实训装置 |
|
维修电工技能实训考核装置(电气控制·PLC·变频器) |
|
高级电工技能实训考核装置 |
|
高级维修电工变频调速PLC可编程控制实训装置 |
|
电子产品工艺实训台 |
|
电子焊接技能实训平台 |
|
现代电工技术实训考核装置(柜式、双面型) |
|
高级电工电子实验装置 |
|
数字电子技术综合实训考核装置 |
|
模拟电路、数字电路实验平台 |
|
电子学综合实验装置 |
|
模拟电子电路实验装置 |
|
模拟电路应用创新实验平台 |
|
电子装配及焊接技能实训装置 |
|
电子焊接实训考核装置 |
|
电子焊接装配实训台 |
|
电子产品焊接与工艺实训台 |
|
电子工艺焊接装配生产线 |
|
电工电子创新综合实训装置 |
|
电子工艺实训考核装置 |
|
电子工艺实训考核装置 |
|
电子创新实验台 |
|
电子产品设计与装调实训考核装置 |
|
电力拖动一体化实训设备 |
|
网络型高性能电工电子技术实训与考核装置 |
|
电子(模电数电)技术综合应用创新实训考核装置 |
|
初中高级电工实训设备 |
|
理实一体化教室、电工电子技术实验台 |
|
电工电子综合实验装置 |
|
电子技术综合实训考核平台 |
|
电工实训考核装置 |
|
电工技能实训装置 |
|
电工技能实训台 |
|
电气系统安装与调试实训装置 |
|
电工基础实训台 |
|
电工实训考核装置,电工技术实训考核装置,网孔型电工实训考核设备 |
|
现代电气控制系统安装与调试实训考核装置 |
|
网孔型电气控制实训装置 |
|
在线智慧电子实验系统综合实训平台 |
|
电子产品装调与人工智能创新考核装置 |
|
电力电子技术应用创新设计综合实训装置 |
|
电子学综合实验装置 |
|
电工实训操作台(单面二组型) |
|
电工电子技术综合实训考核装置 |
|
电工电子自动化综合实验实训装置 |
|
电工电子电拖实验装置 |
|
电工技能鉴定实训装置 |
|
低压电气装配工技能实训考核装置 |
|
电工电拖综合实训装置 |
|
电工技术实训考核装置 |
|
机电综合实训考核平台 |
|
电工电子技术实验装置 |
|
电力拖动实训装置 |
|
轨道交通电力系统综合自动化技能实训考核平台 |
|
电力拖动一体化实训设备 |
|
电力系统综合自动化技能实训考核平台 |
|
电力系统微机保护综合实训装置 |
|
电力系统自动化实训平台 |
|
电气设备及二次部分实训考核装置 |
|
电力电子技术实训装置 |
|
电机及电气技术实验装置 |
|
电机电力电子及电气控制技术实验装置 |
|
电机及电气技术实验装置 |
|
大功率直流调速系统实训考核装置 |
|
电机装配与运行检测实训考核设备 |
|
电机电力拖动及电气控制实训装置 |
|
电机拖动及自动控制系统实验台 |
|
电机及电气控制实验装置 |
|
电子技术综合实训装置 |
|
电子焊接装配实训台 |
|
电子创新综合实训平台 |
|
电工电拖综合实训平台 |
|
电机控制实验台、电机PLC控制实验装置 |
|
摇臂钻集合实验台,机床电气控制技能实训考核装置 |
|
电气控制实训平台 |
|
一体化网络型高级维修及技师电工技能培训考核实训装置 |
|
防爆电气控制技术技能培训考核实训装置 |
|
电机及拖动实验台 |
|
高级维修电工综合实训柜 |
|
电工操作实操台,网孔型电工技能实训考核装置 |
|
电气安装实训装置 |
|
电工电子综合应用创新实训装置 |
|
电机维修及检测实验装置 |
|
机电传动与控制实训装置 |
|
电力拖动电气控制实验装置 |
|
电工电气实训考核装置 |
|
电工电子实训台 |
|
电机拖动与调速系统实训装置 |
|
电子产品设计及制作生产线 |
|
电力系统微机保护综合实训设备 |
|
电子技术综合实验装置 |
|
电子技术综合实训平台 |
|
网孔型高级维修电工实训设备,网孔型中级维修电工实训设备,网孔型初级维修电工实训设备 |
|
高级电工电拖实训考核柜、中级电工电拖实训考核考核柜、初级电工电拖实训考核考核柜 |
|
高级维修电工实训室,中级维修电工实训室,初级维修电工实训室 |
|
电力拖动PLC变频调速综合实训装置 |
|
电力拖动实训台 |
|
电工基础及基本技能实训台 |
|
电机拖动实训设备 |
|
电子技术实验实训室设备 |
|
电工电子实训考核装置 |
|
高级电工电子电力拖动实验装置 |
|
供电技术实训装置 |
|
电力拖动与控制技术实训装置 |
|
电力电子及电气传动实验台 |
|
电力技术控制系统实训演示设备 |
|
高性能电工电子电力拖动综合实验装置 |
|
电力自动化仪表及过程控制实训平台 |
|
电力系统继电保护实验台 |
|
电气控制实训室设备 |
|
电气控制技术实验装置 |
|
维修电工实训考核装置 |
|
高级电工及技师维修电工实训考核装置 |
|
维修电工实训装置、维修电工技能操作台 |
|
高级维修电工考核实训台(单面双组型) |
|
电气安装与维修实训考核装置 |
|
电工电力电子实训平台 |
|
变电二次安装工实训考核装置 |
|
工厂供电综合自动化实训装置 |
|
供配电实验室设备,电气工程综合实训设备 |
|
电工基本操作技术实训室设备 |
|
机电驱动实训设备 |
|
电子产品装配实训室 |
|
电气控制技能实训考核装置 |
|
电气安装与维修实训考核设备 |
|
电子焊接防静电实训台 |
|
电子产品装配与调试生产线 |
|
电子工艺实训考核装置 |
|
模拟电路实验装置 |
|
电机技术实验装置(交/直流发电机) |
|
电机与变压器综合实验装置 |
|
电力拖动.PLC技能实训装置,电力拖动、PLC实训装置 |
|
高级维修电工综合实训装置(附件)为竞赛考核平台 |
|
高级电工职业技能鉴定综合实训考核装置 |
|
电力自动化及继电保护实验装置 |
|
电力自动化及继电保护实验台 |
|
电力拖动(工厂电气控制)实验装置 |
|
初中级电工实训考核装置 |
|
高级电工技术实验台 |
|
电气智能控制PLC 技术实训装置 |
|
电力电子与电力传动专业课程 |
|
电力电子技术实验室设备 |
|
电气安装与维修实训考核装置 |
|
自动化综合实训装置 |
|
高级维修电工实训考核装置 |
|
电工实训考核装置简介,电气装配实训台注意事项 |
|
高性能高级维修电工技能培训考核装置 |
|
电子技术实训装置 |
|
电工电子技术创新设计综合应用实训装置 |
|
电气动力设备安装调试技能实训装置(高级) |
|
(初级)电气动力设备安装调试技能实训装置 |
|
(中级)电气动力设备安装调试技能实训装置 |
|
电气照明设备安装调试技能实训装置 |
|
高性能电工技术实验台 |
|
高低压配电实验实训装置 |
|
电工技术综合实验装置 |
|
数字电路应用创新实验平台 |
|
模拟电路实验装置 |
|
电工技能实训考核装置 |
|
高性能电工综合实验装置 |
|
高级电工实操柜,中级电工实操柜,初级电工实操柜 |
|
高级电工技术实训考核装置 |
|
中级电工技术实训考核装置 |
|
初级电工技术实训考核装置 |
|
通用电工技能综合实训装置 |
|
电工综合训练装置 |
|
电工实训装置 |
|
电工实验装置 |
|
电工电子综合实验装置 |
|
电工电子电拖实训装置 |
|
电工·电子技术实训装置 |
|
现代高级电工电拖实训考核设备 |
|
维修电工电气控制实训考核装置 |
|
仪表及照明单三相电机控制实训考核装置 |
|
高级电工综合实验装置 |
|
现代电气控制应用实训设备 |
|
通用电工实验台,通用电工技术实训台 |
|
通用电子实验台 |
|
通用电工电子实验台 |
|
通用电工电子电力拖动实验台 |
|
通用电工电子电力拖动带直流电机实验台 |
|
电工、电子、电力拖动(带直流电机、三相可调)实验装置 |
|
通用电力拖动实验室成套设备 |
|
通用电力拖动实验室成套设备(带直流电机实验) |
|
通用电工电子 电力拖动
直流电机实验室设备 (四合一) |
|
现代电气控制系统安装与调试实训装置 |
|
电工·电子·电拖创新实训室设备 |
|
现代电气控制综合实训装置 |
|
电工技术实验装置 |
|
立式电工电子实验装置 |
|
智能型电工电子技术实验装置 |
|
智能型电工、电子、电力拖动综合实验装置 |
|
智能型电工、电子、电力拖动综合实验装置(带PLC实验) |
|
智能型电工、电子/电拖、PLC、单片机综合实验装置 |
|
智能型电工、电子、电拖、PLC、变频调速综合实验装置 |
|
电子焊接装配生产线 |
|
电子焊接工作台 |
|
电子工艺实训台 |
|
电子装配调试实训台 |
|
电子产品装调一体化创新实训装置 |
|
电气装配与工艺实训装置(单面双组型) |
|
电气装配实训台(单面双组型) |
|
机床PLC电气控制实训考核装置 |
|
电气装配实训台 |
|
电气技能实训考核装置(单面双组型) |
|
高性能电工技术实验装置 |
|
高性能电工电拖实验装置 |
|
高性能电工、电子、电力拖动、PLC、变频器实训装置 |
|
高级电工技术实验台 |
|
高性能电工电子实验台 |
|
高级电工电子电拖综合实验台 |
|
维修电工技能实训考核装置(两面四组型) |
|
初级电工、电拖实训考核装置(柜式) |
|
中级电工、电拖实训考核装置(柜式) |
|
高级电工、电拖实训考核装置(柜式) |
|
高性能高级维修维修电工实训考核装置 |
维修电工电气控制及仪表照明电路综合实训考核装置 |
高级维修电工技能实训考核装置 |
仪表照明实训考核装置 |
高级维修电工实训考核装置 |
|
维修电工电气控制及仪表照明电路综合实训考核装置 |
|
高级技师维修电工实训考核装置 |
|
维修电工电气控制技能实训考核装置 |
|
中高级维修电工及技能培训考核实训装置(电工考证实训设备) |
|
高级电工实训考核鉴定装置 |
|
智能型现代电气控制实训考核装置 |
|
高性能初级维修电工及技能培训考核实训装置 |
|
高性能中级维修电工及技能培训考核实训装置 |
|
高性能高级维修电工及技能培训考核实训装置 |
|
电工电子综合应用创新实训装置 |
|
高级电工、电拖、PLC实训考核装置 |
|
高性能初、中、高级维修电工技能综合实训考核装置 |
|
电气照明接线实操考核平台 |
|
电气设备安装调试技能实训装置 |
|
自动加工与装配生产线实训考核设备 |
|
网孔型万能电气控制与及机床电路实训考核鉴定装置 |
|
机床电气技能实训考核鉴定装置 |
|
现代电气控制系统安装与调试实训考核装置 |
|
模电、数电、电力拖动实验台 |
|
维修电工实训考核柜(柜式、双面型) |
|
双面网孔板维修电工技能实训考核装置 |
|
高级电工电子实验装置 |
|
电工电拖实训平台 |
|
维修电工电气控制技能实训考核装置 |
|
维修电工通用型实训考核实训装置 |
|
维修电工排故培训考核装置 |
|
电工基本技能综合实训设备 |
|
维修电工实训装置(网孔板单面双组型) |
|
电工电子技术·电力拖动实训考核装置 |
|
通用电工电子电拖(带直流电机)实验台 |
|
电子技术实验教学平台 |
|
电子技术综合实训考核装置 |
|
电工电子技术实训考核装置 |
|
电工实训装置 |
|
电工电子实验装置 |
|
电工电子电力拖动实验装置 |
|
电工电子电力拖动实验装置(带PLC实验) |
|
电子产品装调与智能检测实训考核装置 |
|
电子产品装调与智能检测实训室专业建设方案 |
|
电子产品装调与人工智能创新考核装置 |
|
电子工艺实训考核装置 |
|
电子工艺综合实训装置 |
|
电子工艺实验考核装置 |
|
电工技能及工艺实训考核装置(网孔板) |
|
通用电工电子技术及电力拖动实验台 |
|
电子产品焊接装配实训台 |
|
中级维修电工实训台 |
|
初级维修电工实训学生台 |
|
电子实验室设备 |
|
电工电子综合实验平台 |
|
模电数电技术实验台 |
|
电机电力电子与交直流调速实验台、电机电力电子与电气传动技术实验装置
|
|
智能变配电系统实验开发平台 |
|
高级维修电工及技师技能实训考核装置 |
|
高低压配电实验实训装置 |
|
低压供配电技术实训设备 |
|
低压配电成套实训装置 |
|
低压配电操作实训室设备 |
|
工厂供电综合自动化实训系统 |
|
工厂供电技术实训装置 |
|
35kV变电站及10kV供配电系统倒闸操作屏 |
|
变配电室值班电工技能培训考核系统 |
|
供配电所实训装置 |
|
智能供配电实训装置 |
|
变电站综合自动化实训系统 |
|
电力系统继电保护综合实验装置 |
|
电力系统继电保护与自动化实训装置 |
|
电力系统微机线路保护实训考核装置 |
|
电力系统继电保护工培训考核平台 |
|
电力系统自动化实训平台 |
|
电力系统继电特性及继电保护实验装置 |
|
电机及自动控制实验装置 |
|
高级维修电工实训设备 |
|
中级维修电工实训考核装置 |
|
维修电工中级技能实训设备 |
|
高性能初级维修电工技能实训装置 |
|
电气安装与维修实训考核装置 |
|
电气动力设备安装调试技能实训装置 |
|
电工电气维修实训台 |
|
维修电工与PLC实训考核装置(双工位) |
|
电气系统安装与调试实训装置 |
|
维修电工技能实训考核台 |
|
高级技师维修电工实训装置 |
|
维修电工技师、高级技师技能实训考核装置 |
|
维修电工仪表照明实训考核装置 |
|
维修电工电气控制及仪表照明电路综合实训考核装置 |
|
维修电工电气控制技能实训考核装置 |
|
电工实训操作实操台 |
|
安全用电实训考核装置 |
|
技术安全检查实训装置 |
|
新能源发电实训设备 |
|
电工、模电、数电、微机接口及微机应用实验设备(适用于高校、大专、职业学院)
更多产品>> |
|
电力电子技术及数模电综合实验台 |
|
电工、模电、数电实验室设备 |
|
模拟 数字电子电路微机接口
微机应用综合实验室设备 |
|
信号与系统·控制理论·计算机控制技术实验台 |
|
模电、数电、通信原理教学实验装置综合实验台 |
|
模电、数电、现代通讯原理实验室成套设备 |
|
高级模电、数电综合实验台 |
|
模电、数电、高频电路综合实验台 |
|
模电、数电、自动控制综合实验台 |
|
模电、数电、单片机实验开发系统综合实验台 |
|
电工实验室成套设备 |
|
电工实验台 |
|
电工、模电、数电、电气控制综合实验室成套设备 |
|
模电.数电实验台 |
|
电工、模电、数电实验台(三合一) |
|
电工、模电、数电、电气控制实验台(四合一) |
|
电工、模电、数电、电气控制(带直流电机)实验台(五合一) |
|
电机拖动及电力电子技术创新实验实训装置 |
|
电力电子技术及电气传动实训装置 |
|
电力电子电气自动控制技术实训装置 |
|
电机及电气技术实验装置 |
|
电力电子实训装置 |
|
电力电子技术实验台 |
|
电力电子基础实训台 |
|
电力电子技术实训台 |
|
电力电子技术实训装置 |
|
电力电子及电机拖动综合实验装置 |
|
电力电子技术及电机控制实验装置 |
|
电力电子及电气传动实训装置 |
|
电力电子技术实验装置 |
|
电机控制及照明实训柜 |
|
电力自动化及继电保护实验装置 |
|
DSP原理及电机调速实验系统 |
|
现代电工技术实训考核装置 |
|
现代电力电子技术实验设备 |
|
电工电子电气技术实训装置 |
|
电机拖动及电气控制技术实验装置 |
|
电机维修及检测实训装置,控制微电机综合实验装置,电机拖动实训设备 |
|
电机原理及电机拖动实验系统 |
|
交直流调速实训装置 |
|
电机维修及检测实训设备 |
|
机电综实训PLC考核平台 |
|
电机拖动实验台 |
|
电机及电气技术实验装置 |
|
电气动力设备安装调试技能实训装置 |
|
电力电子电机拖动综合实验台 |
|
电机控制与调速综合实训装置 |
|
电力电子技术及电机控制实验装置 |
|
电工电子综合应用创新实训装置装置 |
|
电力拖动实训装置 |
|
电工电子相关实验教学设备 |
|
电子装配实训台,电子基本技能实训设备 |
|
电机及电气技术实验装置 |
|
电力电子技术实训装置 |
|
电子技术综合实训考核装置 |
|
电子、单片机技术综合实训考核装置 |
|
电子技术及传感器综合实训装置 |
|
电子技术综合实训平台 |
|
电子应用技能实训考核装置 |
|
电工技术实训装置 |
|
电工电子技术实验台 |
|
电工、模电、数电、电力拖动(带直流电机)实验与实训考核台、电工维修实训设备 更多产品>> |
|
模电、数电实验与技能实训考核台 |
|
电工、模电、数电实验与技能实训考核台 |
|
通用电工、电子、电拖实验与电工、电子、电拖技能实训考核实验室设备 |
|
电工、模电、数电、电力拖动(带直流电机)实验与技能实训考核实验室设备 |
|
电工、模拟、数字、电力拖动综合实验装置 |
|
电工技能实训与考核实验室成套设备 |
|
电工·模电·数电·电拖·单片机·PLC·传感器技术综合实训考核装置 |
|
电工、模电、数电、电气控制、PLC可编程控制综合实验装置 |
|
电工、电子、电拖(带直流电机)实验与电工、电子、电拖技能实训考核实验室设备 |
|
电气装配与工艺实训台 |
|
网孔型电工电子技能及工艺实训考核装置 |
|
网孔型电力拖动(工厂电气控制)技能及工艺实训考核装置 |
|
维修电工仪表照明实训考核装置 |
|
初级工实训台、中高工实训台、高级工实训台 |
|
高性能电工电子技术实训考核装置 |
|
高性能电工、电子、电力拖动技术实训考核装置 |
|
电力拖动工厂电气控制技能及工艺实训考核装置、网孔型电工电子电力拖动变频调速PLC装置 |
|
高性能电工电子电拖及自动化技术实训与考核装置 |
|
高性能电工技术实训考核装置、高性能电工电子技术实训考核装置、高性能电工电子电力拖动技术实训考核装置 |
|
电子技术综合实训考核装置,电工电子技术实训考核装置,电工电子技术·电力拖动实训考核装置 |
|
电力拖动·PLC技能实训装置、电力拖动技能实训考核装置 |
|
单片机实验箱 |
|
信号与系统/DSP实验箱 |
|
单片机同步互动实验系统 |
|
数字、模拟电路同步互动教学系统 |
|
电路分析基础课程设计实验室设备 |
|
电路原理与模拟电路综合实验箱 |
|
数字电路、EDA技术实验设计系统 |
|
SAE数电/摸电/EDA综合实验系统 |
|
三相电路的实验箱 |
|
电子测量实验箱 |
|
电工电路技术实验箱 |
|
太阳能教学实验箱 |
|
8086KB微机原理与接口实验箱 |
|
自控原理及计算机控制技术教学实验箱 |
|
新型计算机组成原理实验箱 |
|
计算机组成原理基础实验箱 |
|
计算机设计综合技能试验箱 |
|
A865微机原理与单片机实验箱 |
|
微机控制与仿真实验实训室 |
|
嵌入式实验开发系统 |
|
创新型模块化模拟电路实验箱 |
|
增强型电子线路综合实验箱 |
|
数字电子技术实验箱 |
|
模拟电子技术实验箱 |
|
数字电子技术实验箱,设计型(基础型) |
|
微机原理与接口技术,计算机控制技术课程 |
|
创新单片机实训箱 |
|
EDA实验箱 |
|
EDA实训室、EDA实验开发箱 |
|
FPGA教学开发创新平台 |
|
E207EDA设计技术实验箱 |
|
E216SOPC系统综合开发平台 |
|
超强型计算机组成原理与系统结构实验箱 |
|
高频电路实验箱 |
|
综合电路原理实验箱 |
|
电路原理实训室设备 |
|
EMCU模块化多CPU创新单片机实训实验箱 |
|
单片机嵌入式实验系统 |
|
新型单片机实验箱 |
|
8-32位微机原理接口实验系统 |
|
集成一体化单片机、微机接口综合实验箱 |
|
多种单片机、微机接口与组态综合实验系统 |
|
51单片机实验箱 |
|
STM32单片机实验箱 |
|
单片机与组态综合实验系统 |
|
单片机与MCGS组态综合实验系统 |
|
单片机、微机原理及接口技术二合一实验箱 |
|
自控原理实验箱 |
|
自控计控原理实验系统 |
|
自控原理与计算机控制实验箱 |
|
超强型计算机组成原理实验箱 |
|
计算机组成原理与系统结构实验箱 |
|
微机原理与接口技术实验室 |
|
数字模拟电路实验箱 |
|
模拟电路实验箱(含信号源) |
|
模拟电路实验箱 |
|
数字电路实验箱 |
|
数字模拟电路实验箱 |
|
数字电路、模拟电路综合实验箱 |
|
电工技术实验箱 |
|
电子技术实验箱 |
|
电路原理实验箱、数字电路实验箱 |
|
模拟电路技术实验箱、数字电路技术实验箱、电工技术实验箱 |
|
电路分析基础实验 |
|
电路分析实验箱、电路原理实验箱 |
|
运动控制实训平台、CPTH超强型计算机组成原理与系统结构实验仪 |
|
信号与系统实验平台 |
|
信号与系统及数字信号处理平台 |
|
通信教学实验系统 |
|
移动通信系统 |
|
现代交换系统方案 |
|
数字通信技术实验系统方案 |
|
通信原理实验系统方案 |
|
通信与信号处理实验箱 |
|
通信系统创新实验平台 |
|
信号与系统控制理论实验装置 |
|
信号与系统综合实验箱 |
|
移动通信系统、通信原理实验平台 |
|
程控交换综合实验箱 |
|
通信系统原理实验箱 |
|
光纤通信教学实验系统 |
|
光纤通信综合实验箱 |
|
高频电子线路实验箱
|
|
通信原理综合实验箱 |
|
现代通信技术实验平台 |
|
通信原理实验箱 |
|
PLC可编程控制器实验箱 |
|
单片机开发实验箱、万能单片机实验开发系统、单片机实验箱 |
|
交流电路实验箱 |
|
直流电路实验箱 |
|
单片机实验箱 |
|
创新单片机实训实验箱 |
|
数字、模拟、电路分析综合实验箱 |
|
智能通用电工、电子、电力拖动实验室设备(适用高校、专科、职业学院、中专、技校、职校 ) |
|
电工、电子、电拖(带直流电机)技能实训与考核实验室设备 |
|
通用电工电子电拖(带直流电机)实验台 |
|
电工电子电拖直流电机实训台 |
|
通用型电工电子实验台 |
|
电工电子电拖实训台 |
|
电力拖动实训平台 |
|
电机拖动及控制实训设备 |
|
电机与拖动实验室设备及装置 |
|
通用智能型电子实验与技能实训考核台 |
|
通用智能型电工实验和电工技能实训考核台 |
|
通用电子实验与电子技能实训考核实验室设备 |
|
通用智能型电工、电子、电拖实验与技能实训考核台 |
|
电工、电子、电力拖动(带直流电机)技能实训考核台、维修电工实设备 更多产品>> |
|
电工电子技术实训装置 |
|
电工技能实训考核台 |
|
电子技能实训考核台 |
|
电工、电子技能实训考核台 |
|
电工、电子、电力拖动技能实训考核台 |
|
电工、电子、电力拖动(带直流电机)技能实训考核台 |
|
电气控制实训装置(单面双组型) |
|
电气实验实训室,主要服务机械制造自动化、电工维修考核设备 更多产品>> |
|
智能电工技术实验装置 |
|
SB-528立式电工实验台 |
|
SB-528立式电工、模电、数电实验台 |
|
SB-528立式电工、模电、数电、电气控制实验台 |
|
SB-528立式电工、模电、数电、电气控制(带直流电机)实验台 |
|
SB-528E立式电工·模电·数电·单片机综合实验装置 |
|
立式电工·模电·数电·电气控制·PLC可编程控制综合实验装置 |
|
智能型电工电子电拖PLC单片机综合实验装置 |
|
电工电子及电力拖动综合应用创新实训装置 |
|
电力拖动(工厂电气控制)实验装置 |
|
高级电工实验室成套设备(带功率表、功率因数表) |
|
高级模电、数电实验室成套设备 |
|
PLC编程控制实训设备、单片机实验室、计算机原理实验室设备、工业自动化实验台
更多产品>> |
|
PLC设备安装调试实验实训系统 |
|
工业运动控制技术实训台 |
|
电气控制与PLC控制实验装置 |
|
电气控制系统综合实训设备 |
|
可编程控制器实训装置 |
|
电气自动控制电路装调维修考核装置 |
|
机电一体化与工业网络高级应用实训平台 |
|
工业控制技术教学与考核平台 |
|
柔性灌装自动化生产线实训系统 |
|
MES网络型模块式柔性自动化生产线实训设备 |
|
运动控制综合实训装置 |
|
六工位PLC可编程控制器实训台 |
|
机电一体化综合创新教学平台 |
|
机电一体化综合实训考核设备 |
|
PLC可编程控制器、触摸屏、变频器 伺服控制实训平台 |
|
PLC可编程技术综合实训装置 |
|
PLC可编程控制实训设备 |
|
网络型可编程控制器综合实训装置 |
|
可编程控制器S7-1200综合实训设备 |
|
网络型PLC可编程控制器综合实训装置( PLC+ 变频 + 电气控制 + 触摸屏) |
|
可编程控制器S7-1500综合实训设备 |
|
网络型PLC可编程控制器综合实训装置(PLC+变频+电气控制+触摸屏) |
|
西门子1214C网络型可编程控制器综合实训装置 |
|
网络型PLC可编程控制技术综合实训装置(PLC、变频器、触摸屏) |
|
网络型PLC实训装置,PLC控制+变频+触摸屏+步进+伺服 |
|
电气实训操作台(PLC+变频+电气控制+触摸屏) |
|
电气与PLC可编程控制综合实训装置 |
|
可编程控制综合实训装置 |
|
PLC可编程控制器实训装置 |
|
PLC可编程控制器实训装置 |
|
自动化控制技能实训台 |
|
物联网综合应用实训系统 |
|
物联网工程综合应用实训装置 |
|
物联网智能家居实训系统 |
|
建筑智能物联网实训系统 |
|
电气控制PLC实训台 |
|
可编程控制器、单片机综合实训装置 |
|
机电一体化实训平台 |
|
电气控制与PLC技术一体化实训设备 |
|
可编程技术实训设备 |
|
单片机技术应用实训考核装置 |
|
PLC控制技术与组态技术实训装置 |
|
单片机技术实训装置 |
|
单片机应用创新实验平台 |
|
单片机控制功能实训考核装置 |
|
单片机技术应用实训考核装置 |
|
PLC可编程控制器实验装置 |
|
PLC控制及变频驱动技术教学实训装置 |
|
可编程控制器综合实训装置(PLC+变频+电气控制+触摸屏)S7-1200 |
|
PLC综合控制实训装置 |
|
电机装配与运行检测实训平台 |
|
网络型PLC可编程控制器综合实训装置(PLC+变频+电气控制+触摸屏) |
|
网络型可编程控制器实验装置(三菱) |
|
工业机械传动装调实训平台 |
|
工业数字化网络综合实训平台 |
|
工业运动控制技术实训装置 |
|
工业运动控制技术实训台 |
|
立体仓库实物教学实训装置 |
|
单片机控制二维运动实训设备 |
|
西门子工业控制与PLC综合实训平台 |
|
PLC可编程控制器实验箱 |
|
可编程控制器(S7-200SMART)实验室设备 |
|
西门子S7-1500实训设备,PLC+变频+电气控制+触摸屏 |
|
工业网络与组态实训装置 |
|
可编程电气控制综合实训装置 |
|
PLC网络综合实验平台 |
|
PLC可编程控制器综合实训装置(欧姆龙) |
|
可编程控制器实训装置 |
|
可编程变频器及电气控制综合实训装置 |
|
工业自动化通信网络实验平台 |
|
工业自动化综合实训装置 |
|
工业控制综合实训装置 |
|
工业自动化通信网络实验台 |
|
可编程控制器自动化教学装置 |
|
变频技术实验设备 |
|
工学结合PLC实训台 |
|
(三菱PLC)综合实训装置 |
|
西门子PLC控制综合实训装置 |
|
PLC可编程变频调速综合实训装置 |
|
PLC单片机变频调速综合实训装置 |
|
PLC、变频器、电气控制、触摸屏实训装置 |
|
cr40plc可编程控制器综合实训装置 |
|
PLC实训装置 |
|
SB-PLC2可编程控制实验装置 |
|
可编程控制实验装置及单片机综合实验台 |
|
可编程控制器、单片机、自动控制原理综合实验台 |
|
PLC试验台、PLC实验实训考核设备 |
|
PLC变频器、伺服驱动器、步进电机驱动器实训装置 |
|
工业自动化通讯网络实训系统 |
|
网络型PLC可编程控制实验装置 |
|
PLC可编程控制实训装置PLC+电气控制 |
|
网络型PLC可编程控制器综合实训装置 |
|
PLC变频器触摸屏培训设备 |
|
调速PLC可编程控制综合实训装置 |
|
PLC可编程控制器实验台(三菱FX3U-48MR、变频、触摸屏) |
|
PLC可编程控制器、单片机开发应用及电气控制综合实训装置 |
|
可编程控制器实训装置 |
|
单片机应用综合实训平台 |
|
PLC单片机实训台 |
|
单片机控制技术实训平台 |
|
单片机可编程控制综合实验装置 |
|
单片机技术开发平台 |
|
单片机开发综合实验装置 |
|
单片机开发应用技术综合实验装置 |
|
单片机控制技术实训平台 |
|
创新型单片机和EDA设计综合实验开发装置 |
|
单片机•CPLD/FPGA开发综合实验装置 |
|
AB自动化控制实训装置 |
|
单片机控制功能实训考核装置 |
|
单片机开发系统、自动控制原理综合实验装置 |
|
网络型可编程控制器(1500 PLC)实验装置 |
|
PLC可编程控制器实验装置 (PLC+伺服+变频器+电气控制+触摸屏) |
|
工业数字化网络综合实训平台 |
|
单片机应用实训考核装置 |
|
单片机应用创新实验平台 |
|
单片机技术应用实训考核装置 |
|
网络型可编程控制器(1200 PLC)实验装置 |
|
网络型PLC可编程控制器、自动控制原理综合实验装置 |
|
PLC单片机变频器触摸屏实训台 |
|
PLC可编程控制技术综合实训装置(PLC、变频器) |
|
网络型PLC可编程控制/微机接口及微机应用综合实验装置 |
|
网络型PLC可编程控制器综合实训装置(PLC+变频ABB+电气控制+触摸屏) |
|
网络型PLC可编程控制器综合实训装置(PLC+变频+电气控制+触摸屏) |
|
网络型PLC可编程控制器、变频调速、触摸屏、电气控制及单片机实验开发系统综合实验装置 |
|
网络型PLC可编程控制器、变频调速、触摸屏、电气控制及微机接口与微机应用综合实验装置 |
|
可编程控制系统实训平台 |
|
PLC实验实训台 |
|
PLC可编程控制实验及单片机实验开发系统综合实验装置 |
|
PLC可编程控制系统、单片机实验开发系统、自动控制原理综合实验装置 |
|
PLC可编程控制系统、微机接口及微机应用综合实验装置 |
|
计算机装调与维修技能鉴定装置 |
|
计算机组装与维护实训装置 |
|
信号与系统·控制理论·计算机控制技术实验台 |
|
单片机实训箱、
可编程控制器实验箱 |
|
工业机器人多功能实训台(ABB带视觉) |
|
工业机器人循环生产线实训装备 |
|
工业机器人基础实训设备(ABB机器人系统) |
|
工业机器人拆装与调试实训台 |
|
机器人应用实训室设备 |
|
工业机器人多功能实训平台 |
|
工业自动化实训平台 |
|
PLC可编程控制器综合实验装置 |
|
数字化工业控制实训平台 |
|
工业电气自动化及电工技能考核实训平台 |
|
可编程工业控制实训平台 |
|
PLC综合实训台 |
|
三菱FX3G-40MR光机电一体化实训考核装置 |
|
西门子S7-1200光机电一体化实训考核装置 |
|
PLC可编程控制器综合实训装置 |
|
工业自动化综合实训装置 |
|
工业自动化综合实训装置(PLC+变频器+触摸屏+单片机) |
|
工业全数字直流调速系统综合实训装置 |
|
变频调速系统开发平台 |
|
变频器工作原理实训设备 |
|
变频调速技术实训装置 |
|
交直流调速实训装置 |
|
工业电气综合实训装置 |
|
工业自动化控制一体化实训室设备 |
|
工业自动化综合实训装置 |
|
工业自动化综合实训装置(PLC+变频器+触摸屏+单片机) |
|
工业自动化综合实训装置(西门子) |
|
工业控制创新实训平台 |
|
自动化生产线实训室设备 |
|
工业全数字控制实训装置 |
|
工业自动化综合实验考核装置 |
|
工业电气自动化及电工电子技能考核实训平台 |
|
工业运动控制技术实训台 |
|
网络型plc综合实验平台 |
|
工业控制与plc综合实训平台 |
|
工业自动化网络控制平台 |
|
可编程控制器(西门子)综合实训室 |
|
可编程控制器(三菱)综合实训室设备 |
|
液压传动实验台、液压PLC实验台、气动液压PLC实验台、电梯模型、智能建筑实验室设备 更多产品>> |
|
液压与气动工程技术实训台 |
|
透明液压传动与PLC控制实训装置 |
|
气动PLC控制实训装置 |
|
液压与气压传动(轧钢机)综合实训装置 |
|
液压传动测试实验台 |
|
工业型液压综合实验台 |
|
PLC控制液压与气动综合实训装置 |
|
液压元件拆装实训装置 |
|
液压与气压传动综合实训装置 |
|
液压气动PLC控制综合实训装置 |
|
实验教学用液压实验台(可视型) |
|
多功能气动教学实验台 |
|
液压气压传动与控制实训操作平台 |
|
透明液压传动与PLC实训装置 |
|
液压与气压PLC控制综合实训装置 |
|
透明液压与气动PLC控制综合实训装置(软件控制) |
|
透明液压传动与PLC控制实训装置 |
|
液压挖机与人机界面实训装置 |
|
PLC透明液压回路试验台 |
|
透明液压与气压传动综合实训装置(PLC控制、液压气动二合一) |
|
液压传动与PLC实训装置(工业型单面) |
|
PLC控制透明液压与气动综合实训装备 |
|
液压装载机实训系统 |
|
液压挖掘机实训系统 |
|
气动机械手实训考核装置 |
|
双面电气动PLC控制实训装置 |
|
气动传动实验台 |
|
液压传动基础实训箱 |
|
气动实训箱 |
|
基本液压传动实验台 |
|
液压传动实训台装置 |
|
气动机械手实训模型 |
|
透明液压传动与PLC实训装置 |
|
机电液气一体化实训平台 |
|
液压传动技术实验台 |
|
液压元件拆装实训台(实物) |
|
液压传动教学装置 |
|
气动实训教学装置 |
|
双面透明液压传动技术教学装置 |
|
透明液压传动演示系统 |
|
液压传动实验台 |
|
透明液压传动与PLC实训装置 |
|
透明液压PLC控制实训装置 |
|
气动PLC控制实训装置 |
|
透明液压与气动传动综合实训装置 |
|
多功能气动教学实训台 |
|
工业型液压综合实验台 |
|
PLC控制液压与气动综合实训装置(工业型) |
|
透明液压传动与PLC控制实训装置 |
|
透明气动PLC控制实训装置 |
|
液压控制综合实训装置 |
|
气动控制综合实训装置 |
|
四合一透明液压传动演示系统 |
|
液压与气压实验台 |
|
透明液压传动与PLC实训装置(铝合金框架) |
|
叉车液压系统实训台 |
|
挖掘机液压系统与PLC控制实训装置 |
|
透明液压PLC控制实验装置(挖掘机液压试验台) |
|
液压挖掘机实训装置 |
|
起重机械实训装置 |
|
装载机液压系统与PLC控制实训装置 |
|
起重机液压系统与PLC控制实训装置 |
|
液压与气压传动PLC综合实训装置(工业型) |
|
液压传动与PLC实训装置(工业型单面) |
|
透明装载机实训台 |
|
透明挖掘机实训台 |
|
传感器实训设备、传感器实验设备、实验箱类、变频调速实验装置、工业自动化实训设备 |
|
传感器综合实训装置 |
|
工业传感器检测及控制实训台 |
|
工业传感器应用与检测综合实训台 |
|
传感器技术实训室,传感器技术实训台,传感器技术实训装置 |
|
创新型测控传感器技术综合实验实训装置 |
|
传感与检测实训装置 |
|
传感器综合实验系统(22种传感器技术实验箱) |
|
检测与转换传感器技术实验仪(20种传感器) |
|
传感器技术实训装置 |
|
传感器应用技术实验设备 |
|
传感器应用技术实训考核设备 |
|
传感器系统实验仪 |
|
传感器与检测技术实验台 |
|
传感器技术实验箱 |
|
增强型型检测与转换(传感器)技术实验装置 |
|
压力传感器标定实验系统 |
|
热电阻和热点偶温度传感器校验实验系统 |
|
单片机传感器综合实验实训平台 |
|
液体流量仪表标定实验系统 |
|
压力控制测量实验装置 |
|
液位流量控制实验装置 |
|
气动薄膜控制阀与电气安装阀门定位调校实训置 |
|
检测与转换(传感器)技术实验17种箱 |
|
传感器与检测技术实训装置 |
|
创新型测控/传感器技术综合实验实训平台 |
|
流量控制测量装置 |
|
智能温度控制实训装置,自动温度测控实验装置 |
|
多媒体工程制图设计实验室设备 |
|
多功能升降式实用绘图桌 |
|
工程制图实验室设备 |
|
建筑工程制图实训室-土木工程实训室 |
|
六角钳工技能实训台 |
|
钳工技能实训考核平台 |
|
钳工职业技能等级鉴定考核装置 |
|
钳工实验室成套设备 |
|
焊工、铆工实操室成套设备 |
|
焊接多功能实训实验室成套设备 |
|
钳工实训室简介、钳工实训工作台 |
|
机电一体化实验室设备、教学数控车床、教学数控铣床、透明电机模型、变压器模型 更多产品>> |
|
光机电一体化控制实训系统 |
|
机电一体化实训装置 |
|
自动生产线拆装与调试实训装置 |
|
机电一体化实训装置 |
|
工业自动化综合实训装置 |
|
煤矿自动化控制实训平台 |
|
机电一体化综合实训考核设备 |
|
基于PLC机电一体化实训平台 |
|
自动化生产线实训考核装备 |
|
光机电气一体化控制实训平台 |
|
机电一体化综合实训实验系统 |
|
机电一体化系统综合实训平台 |
|
机电一体化综合系统实训装置 |
|
数字化工业机器人柔性生产线实训平台 |
|
MES网络型模块式柔性自动化生产线实训系统 |
|
MPS模块式柔性自动化生产线实训系统(六站) |
|
灌装自动化生产线实训装置,机电一体化技师实训考核装置 |
|
机电一体化综合系统实训设备 |
|
光机电一体化实训考核装置 |
|
自动化生产线实训考核平台 |
|
自动生产线实训装置 |
|
智能控制技术实训台 |
|
自动化控制技术实训装置 |
|
智能机电一体化综合实训考核设备 |
|
机电一体化综合实训系统 |
|
光机电气一体化实训装置 |
|
电机故障诊断与维修检测实训考核装置 |
|
机床电路实训考核设备 |
|
机床电路实训设备 |
|
机床电气线路(四合一)考核实训装置 |
|
机床电气控制实训装置(柜式双面、四合一、四种机床) |
|
机电一体化综合实训室设备、机电液气一体化实训平台 |
|
数控设备维修实验室设备、数控机床电气故障检测实训台 |
|
机电技术综合实训考核装置 |
|
光机电一体化实训考核装置 |
|
物料分拣实训装置 |
|
煤矿培训自动化试验台 |
|
自动生产线实训考核装置 |
|
工业自动生产线实训装置 |
|
机电一体化综合实训考核装置 |
|
光机电一体化实训室设备、自动生产线实训室设备 |
|
柔性自动化生产线实训系统(六站) |
|
机电气液一体化综合实训装置 |
|
3D虚拟机床及机床线路实训装置 |
|
机床电气控制技术实训台 |
|
网络化智能型机床电气技能实训考核装置 |
|
机床智能实训考核装置 |
|
机床电气培训考核实验装置 |
|
网孔型万能机床电路实训考核鉴定装置 |
|
数控铣床装调与维修考核实训设备 |
|
数控车床电气控制与维修实训考核装置 |
|
多系统数控机床虚实一体训练机 |
|
机床电气实训智能考核装置(五种机床) |
|
数控车床电气安装与调试实训设备 |
|
车床综合维修考核装置(各种系统) |
|
精密双轴十字滑台实训设备 |
|
数控铣床装调与维修实训台 |
|
数控车床装调与维修实训台 |
|
数控加工中心实验室设备 |
|
数控加工中心装调与维修考核实训设备 |
|
数控车床装调与维修考核实训设备(GSK980TDi) |
|
数控铣床装调与维修考核实训设备(广数GSK-980MDi) |
|
数控车床维修综合实训台、数控铣床维修综合实训台 |
|
电工技能实训考核柜 |
|
机床电气控制技术及工艺实训考核装置(网孔板) |
|
数控车铣复合机床、五轴五联动数控加工中心、五轴数控加工中心虚实一体训练机 |
|
SINUMERIK 840DSL 五轴数控加工中心虚实一体训练机 |
|
五轴数控加工中心虚实一体训练机 |
|
数控机床故障诊断与维修实训装置 |
|
步进电机交流伺服电动机驱动系统实验装置 |
|
光机电气一体化控制实训设备 |
|
光机电气一体化实训设备 |
|
光机电一体化控制实训装置 |
|
自动化生产线实训平台 |
|
智能制造人才综合实训室建设方案 |
|
机电一体化柔性生产线加工系统 |
|
MPS模块式柔性自动化生产线实训系统(六站) |
|
智能型万能机床电气实训考核鉴定装置 |
|
变压器/电机控制综合实验装置 |
|
电机性能综合测试装置 |
|
电机与变压器维修实训设备 |
|
电机变压器维修及检测实训装置 |
|
电机故障诊断与维修检测实训考核装置 |
|
电机电控配线安装装置 |
|
机床电气控制实训装置 |
|
电机装配工技能实训装置 |
|
电机检修技能实训装置 |
|
电机拆装与维修实训台 |
|
模拟机床电气故障排除实训装置 |
|
机电一体化生产线实训设备 |
|
电气控制及PLC变频器电机实训装置 |
|
智能型四合一机床电气控制实训台 |
|
智能型四合一机床电气控制技能实训考核鉴定装置 |
|
龙门刨床电气技能实训考核装置 |
|
交流桥式起重机实训考核设备 |
|
Z3040B摇臂钻床电气技能实训考核装置 |
|
C650-2普通车床电气技能实训考核装置 |
|
Z3050摇臂钻床电路智能实训考核台 |
|
C6140普通车床电气技能实训考核装置 |
|
M7120平面磨床电气技能实训考核装置 |
|
T68镗床电气技能实训考核装置 |
|
X62W万能铣床电气技能实训考核装置 |
|
智能机床电路实训考核装置 |
|
空间及平面机构综合实验台
更多产品>> |
|
钳工技能实训考核平台
|
|
工业机械传动装调实训平台
|
|
机械传动装调综合实训平台
|
|
机构运动创新设计方案拼装及仿真实验台
|
|
机械基础实训室设备,机械设计实训设备,机械传动实训台 |
|
五金冲压模、拆装模具、铝合金拆装实训模具、注塑模具、冲孔模、级进模、复合模
|
|
机械基础综合实验室、机械设计实验室 |
|
机构创新组合设计实验台 |
|
机械运动创新方案拼装实验台 |
|
便携式机械系统传动创新组合设计实验台 |
|
零件尺寸误差测量组合实训装置 |
|
零件形位误差测量组合实训装置 |
|
《几何体》实测绘图训练装置 |
|
《典型零件》实测绘图训练装置 |
|
《标准零件》实测绘图训练装置 |
|
《联接与配合》实测绘图训练装置 |
|
《千斤顶》实测绘图训练装置 |
|
《台虎钳》实测绘图训练装置 |
|
《齿轮泵》实测绘图训练装置 |
|
《减速器》实测绘图训练装置 |
|
测绘用装配体、齿轮泵、阀体及机件模型 |
|
减速器拆装教学模型 |
|
滚齿机教学模型 |
|
教学用插齿机实验台 |
|
轮系创新设计拼装及仿真实验台 |
|
机械传动方案优化综合测试实验台 |
|
曲柄滑块导杆凸轮机构实验台 |
|
螺栓与螺栓组联接综合实验台 |
|
创意组合机械系统装配训练综合实验平台 |
|
带传动效率测试分析实验台(基础型) |
|
液体动压滑动轴承实验台 |
|
便携式机械系统传动创新组合设计实验台 |
|
机械设计制造实训设备,自动化专业实训装置 |
|
曲柄导杆滑块凸轮测试实验装置 |
|
齿轮传动测试分析实验装置 |
|
链条与万向节传动测试实验装置 |
|
机械系统集成及参数可视化分析实验台 |
|
机械传动创意组合测试实验台 |
|
A型机械传动方案创意组合及参数分析实验台 |
|
B型机械传动方案创意组合及参数分析实验台 |
|
自动化夹具综合实验台 |
|
车刀量角仪 |
|
齿轮范成仪 |
|
四杆机构创客系统,零件搭接类实训设备 |
|
机械元件陈列柜 |
|
电机与变压器声动同步CD解说示教陈列柜 |
|
机械基础声动同步CD解说示教陈列柜 |
|
机械运动简图的测绘及分析实验模型 |
|
机械零件20教陈列柜 |
|
减速器声动同步CD解说示教陈列柜 |
|
机械原理声动同步CD解说示教陈列柜 |
|
机械制图16型陈列柜 |
|
模具示教陈列柜 |
|
金属切削示教陈列柜 |
|
金属工艺学CD解说示教陈列柜 |
|
公差配合陈列柜
|
|
钳工工艺学陈列柜 |
|
金属刀具陈列柜 |
|
机床夹具设计陈列柜 |
|
机械综合陈列柜《机械原理》《机械零件》《减速器》 |
|
车工工艺学陈列柜 |
|
机械设计基础陈列柜 |
|
机械设备拆装实训台 |
|
大型量具陈列柜 |
|
《机械创新设计》示教陈列柜 |
|
气动液压示教陈列柜 |
|
机械原理实训设备,机械创新实训装置,机械设计实训设备,机械传动实训设备 |
|
机械装调技术综合实训装置 |
|
机械制图模型,机械制图教学模型 |
|
机械制图立体示教模型、测绘模型画法几何投影箱 |
|
《机械基础》(中国劳动社会保障劳动版) |
|
机械设计拆装实验室,机械设计实验室 |
|
公差与检测技术实训室 |
|
机械系统搭接装配训练实验台 |
|
透明电动机实训教学模型、变压器教学模型 |
|
减速器拆装实验室,拆装实验用大型减速器教学模型(全铝制) |
|
机械装调技术综合实训装置 |
|
机械运动创新设计搭接实验台 |
|
机械机构基础实验台、机构创新实验台、动平衡原理实验台、轴系结构实验箱、机构搭接测试实验台、齿轮范成 |
|
透明五金冲压模拟机、透明液压注塑机演示模型、透明注塑成型模拟机、铝合金模具拆装模型 |
|
机械装调技术综合实训装置、机械设备装调与控制技术实训装置、机械装配技能综合实训平台 |
|
机械制图模型,机械机构模型,机械零件模型,机械原理模型,部件模型 |
|
电机及电子专业实训室、电工技术实训室 |